로그인 바로가기

중앙 내용으로 바로가기

한독직업전문학교

본문내용

본문

설계 포트폴리오
+ Home > 커뮤니티 > 설계 포트폴리오
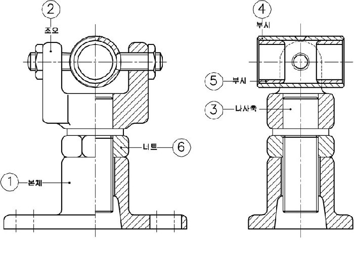
축지지대 단품도/조립도/학생발표
  • 글쓴이
    한독직업전문학교
  • 작성일
    2024-01-19 15:30:11
    조회수
    755

3D프린터 교육과정 중 설계 및 3D프린터로 모형을 제작하고 발표.

 

목록보기
수정하기
삭제하기